United States Patent and Trademark Office >>

Oct. 29, 2020: StoreDot receives patent for producing silicon-based nano-particles that enable processing anode material in oxidizing environments
Driven by the need to reduce GHG emissions, the world is increasingly turning to electrification, bringing with it a growing need to store energy efficiently. Thus with lithium-ion batteries powering everything from consumer electronics to electric vehicles, manufacturers are stepping up their efforts to develop batteries with increased capacity, enhanced safety, and higher charging rates.
Key to enabling these advances are the battery electrodes. As a result, considering the high abundance, environmental friendliness, low cost, and high capacity potential of a silicon-based anode, silicon has emerged as one of the most promising anode materials for high-energy LIBs. However, even though using silicon as an active anode material provides many advantages, including greater energy density, it is reactive and requires careful processing in a non-oxidizing environment.
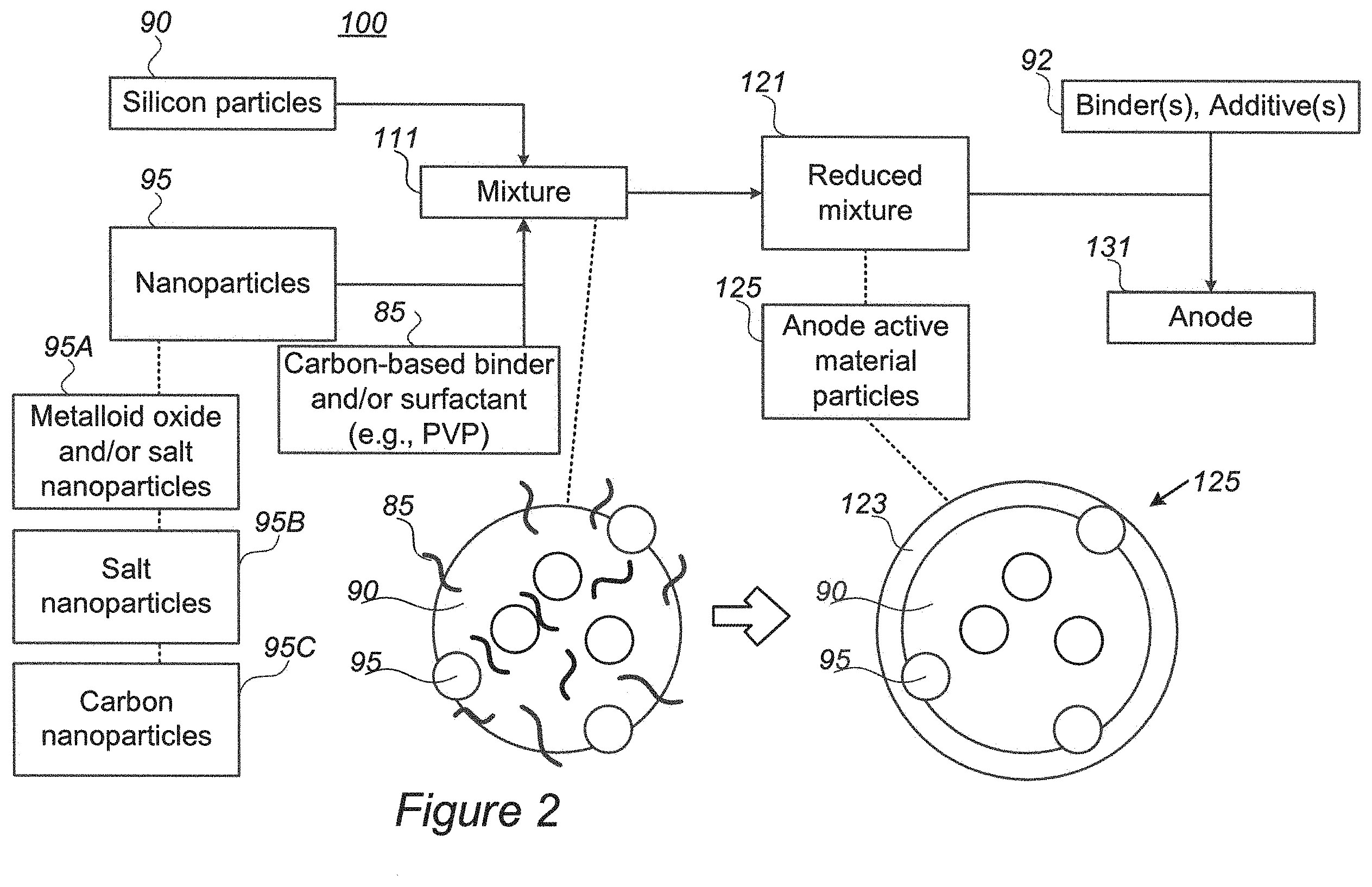
Thus StoreDot’s patent relates to the methodology of forming a mixture of silicon particles with nanoparticles (NPs) and carbon-based binders and/or surfactants, with the NPs containing at least one of the following: metalloid oxide NPs, metalloid salt NPs, or carbon NPs. Following StoreDot’s patent the anode can be formed by reducing and consolidating the mixture to yield a reduced compound of coated silicon particles with a surface that provides a passivation layer (possibly amorphous).
By so doing it is possible for the NPs to provide nucleation sites for the passivation layer on the surface of the silicon particles, thereby enabling the use of significantly simplified anode-formation processes and materials, such as water-based slurries, using StoreDot’s methods and anode active material particles.
